宾利申请可伸缩方向盘专利 适用于自动驾驶车辆

发布时间:2020-06-02
分享到
宾利汽车(Bentley)在英国申请了一项设计专利,其重新设计了车辆座舱的布局,其中包括能够“横向折叠”的方向盘。

据外媒报道,宾利汽车(Bentley)在英国申请了一项设计专利,其重新设计了车辆座舱的布局,其中包括能够“横向折叠”的方向盘。据悉,该设计适用于自动驾驶车辆,可能会成为未来L5无人驾驶车辆中常见且合法的配置。

黑科技,前瞻技术,自动驾驶,宾利,宾利方向盘专利,宾利自动驾驶

(图片来源:motoring.com.au)

预计宾利会于2025年生产首款电动汽车,也可能是一辆自动驾驶电动汽车,即可高速驾驶的跨界车。宾利表示,此种设计可以实现在某些时候才需要方向盘,从而留出宝贵的车内空间。

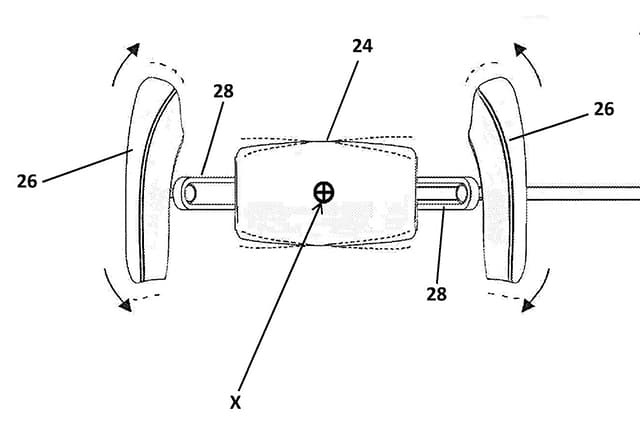
据专利文件所说,该方向盘系统会从驾驶员侧车门上一个豆荚状的口袋中展开,而且具有可伸缩的方向盘握把,配备相当于油门和刹车的触发功能。

黑科技,前瞻技术,自动驾驶,宾利,宾利方向盘专利,宾利自动驾驶

(图片来源:motoring.com.au)

宾利表示,此种设计允许在配置车辆内部座舱时,拥有更大的自由度,从而最大限度地利用可用的车内空间,其中包括座椅(包括驾驶员座椅)能够360度旋转,从而在车辆处于自动驾驶模式下时,乘客们可以进行互动。

虽然宾利的方向盘是为了“自动驾驶”模式而设计,但是当自动驾驶模式不可行或者驾驶员不想要该模式时,也需要必要的手动控制功能。

黑科技,前瞻技术,自动驾驶,宾利,宾利方向盘专利,宾利自动驾驶

(图片来源:motoring.com.au)

那么,如果该方向盘不是如传统方向盘一样,连接到一个传统的具有手臂和联动装置的转向架,该如何工作呢?简而言之,据该专利所说,有关方向盘手动控制功能,线控系统会包括多个输入传感器,能够向电子控制单元(ECU)发送信号。

有趣的是,宾利的专利没有否认既要生产左边驾驶,也要生产右边驾驶的车型,所以,当乘客离开车辆时,该方向盘收缩的速度会有多快呢?


收藏
赞一下
0